Product id: 2008 troy bilt best sale pony
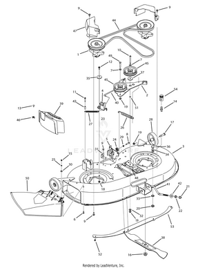
Troy Bilt Pony Lawn Tractor Review best sale, Troy Bilt Riding Lawn Mower Model 13AN77KG011 Troy Bilt US best sale, Troy Bilt Pony 42 best sale, Troy Bilt Pony 15.5 HP Manual Gear 42 in Riding Lawn Mower with best sale, TractorData Troy Bilt Pony 13WM77KS011 tractor information best sale, Troy Bilt 42 in Riding Lawn Mower in the Gas Riding Lawn Mowers best sale, Troy Bilt Riding Lawn Mower Model 13AO77TG766 Troy Bilt US best sale, Pony 42T Troy Bilt Riding Lawn Mower 13A277BS066 Troy Bilt US best sale, Troy Bilt Pony lawn mower in Wichita KS Item HC9907 sold best sale, TROY BILT PONY RIDING MOWER 42 best sale, Troy Bilt Bronco Riding Lawn Mower best sale, Troy Bilt Pony 15.5 HP Manual Gear 42 in Riding Lawn Mower with best sale, Troy Bilt Mower Lawn Mowers Middleburg Florida Facebook best sale, Troy Bilt Pony and Double Bagger Must Go farm garden by best sale, Troy Bilt riding mower won t start no click. Simple fix YouTube best sale, Troy Bilt Riding Lawn Mower Model 13AP60TP766 Troy Bilt US best sale, Troy Bilt Pony 42 Riding Lawn Mower Troy Bilt US best sale, Troy bilt 17.5hp 500cc Riding Lawn Mower for Sale in Fayetteville best sale, Troy Bilt 13AN77KG011 Pony Lawn Tractor 2008 best sale, Riding Mower Upper Transmission Belt Original Equipment Genuine Part OEM best sale, SOLD Troy Bilt Pony Other Equipment Turf Tractor Zoom best sale, Troy Bilt 13AN77KG011 Pony 2008 Parts Diagram for Drive Assembly best sale, Ask Troy Live Mower Maintenance with Troy Bilt s Product Experts best sale, Troy Bilt Riding Lawn Mower Lawn Mowers for Sale eBay best sale, Troy Bilt Riding Lawn Mower for Sale in Canton OH OfferUp best sale, Troy Bilt Pony 42 in. 15.5 HP Briggs and Stratton 7 Speed Manual Drive Gas Front Engine Riding Lawn Tractor Pony 42 The Home Depot best sale, Riding Lawn Mowers for sale in Richmond Maine Facebook best sale, Troy Bilt Pony Mower best sale, 2009 Troy Bilt Pony 42 best sale, 2006 Troy Bilt Pony Riding Lawn Mower INOPERABLE BigIron Auctions best sale, Troy Bilt 13AN77KG011 Pony 08 Lawn Tractor PartsWarehouse best sale, Troy Bilt Pony lawn mower in Mc Camey TX Item DM6393 sold best sale, SOLD Troy Bilt Pony Other Equipment Turf Tractor Zoom best sale, Riding Mower Upper Transmission Belt 490 501 Y087 Troy Bilt US best sale, Estate Auction Sterling Troy Bilt Riding Mower CUTCO Knives best sale, Troy Bilt Pony Lawn Mower BigIron Auctions best sale, Troy Bilt Riding Lawn Mower EstateSales best sale, TractorData Troy Bilt Pony 13WM77KS011 tractor information best sale, Printed Manual 2008 Troy Bilt Pony Lawn Tractor Operators best sale, Steering repair on a 2008 troybilt pony best sale, 2009 Troy Bilt Pony 42 best sale, Troy Bilt 13AN77KG011 Pony 2008 Parts Diagrams best sale, Had a family day Had Lil cookout and kid s get ride on the lawn mower and Jaden Bentley get drive the lawn mower best sale, Troy Bilt Pony Lawn Tractor Review best sale, Troy Bilt Bronco Riding Lawn Mower best sale, TROY BILT PONY Outdoor Power Auction Results TreeTrader best sale, TRACTOR MOWERS Jay s Power Equipment best sale, Amazon OEM 190 183 Deck Wheel Kit for MTD 38 and 42 Decks best sale, Estate of Arthur Gustafson Lodi CA 09 23 2023 Mulrooney best sale, Lawn Mowers for sale in Alexander Arkansas Facebook Marketplace best sale.
Troy Bilt Pony Lawn Tractor Review best sale, Troy Bilt Riding Lawn Mower Model 13AN77KG011 Troy Bilt US best sale, Troy Bilt Pony 42 best sale, Troy Bilt Pony 15.5 HP Manual Gear 42 in Riding Lawn Mower with best sale, TractorData Troy Bilt Pony 13WM77KS011 tractor information best sale, Troy Bilt 42 in Riding Lawn Mower in the Gas Riding Lawn Mowers best sale, Troy Bilt Riding Lawn Mower Model 13AO77TG766 Troy Bilt US best sale, Pony 42T Troy Bilt Riding Lawn Mower 13A277BS066 Troy Bilt US best sale, Troy Bilt Pony lawn mower in Wichita KS Item HC9907 sold best sale, TROY BILT PONY RIDING MOWER 42 best sale, Troy Bilt Bronco Riding Lawn Mower best sale, Troy Bilt Pony 15.5 HP Manual Gear 42 in Riding Lawn Mower with best sale, Troy Bilt Mower Lawn Mowers Middleburg Florida Facebook best sale, Troy Bilt Pony and Double Bagger Must Go farm garden by best sale, Troy Bilt riding mower won t start no click. Simple fix YouTube best sale, Troy Bilt Riding Lawn Mower Model 13AP60TP766 Troy Bilt US best sale, Troy Bilt Pony 42 Riding Lawn Mower Troy Bilt US best sale, Troy bilt 17.5hp 500cc Riding Lawn Mower for Sale in Fayetteville best sale, Troy Bilt 13AN77KG011 Pony Lawn Tractor 2008 best sale, Riding Mower Upper Transmission Belt Original Equipment Genuine Part OEM best sale, SOLD Troy Bilt Pony Other Equipment Turf Tractor Zoom best sale, Troy Bilt 13AN77KG011 Pony 2008 Parts Diagram for Drive Assembly best sale, Ask Troy Live Mower Maintenance with Troy Bilt s Product Experts best sale, Troy Bilt Riding Lawn Mower Lawn Mowers for Sale eBay best sale, Troy Bilt Riding Lawn Mower for Sale in Canton OH OfferUp best sale, Troy Bilt Pony 42 in. 15.5 HP Briggs and Stratton 7 Speed Manual Drive Gas Front Engine Riding Lawn Tractor Pony 42 The Home Depot best sale, Riding Lawn Mowers for sale in Richmond Maine Facebook best sale, Troy Bilt Pony Mower best sale, 2009 Troy Bilt Pony 42 best sale, 2006 Troy Bilt Pony Riding Lawn Mower INOPERABLE BigIron Auctions best sale, Troy Bilt 13AN77KG011 Pony 08 Lawn Tractor PartsWarehouse best sale, Troy Bilt Pony lawn mower in Mc Camey TX Item DM6393 sold best sale, SOLD Troy Bilt Pony Other Equipment Turf Tractor Zoom best sale, Riding Mower Upper Transmission Belt 490 501 Y087 Troy Bilt US best sale, Estate Auction Sterling Troy Bilt Riding Mower CUTCO Knives best sale, Troy Bilt Pony Lawn Mower BigIron Auctions best sale, Troy Bilt Riding Lawn Mower EstateSales best sale, TractorData Troy Bilt Pony 13WM77KS011 tractor information best sale, Printed Manual 2008 Troy Bilt Pony Lawn Tractor Operators best sale, Steering repair on a 2008 troybilt pony best sale, 2009 Troy Bilt Pony 42 best sale, Troy Bilt 13AN77KG011 Pony 2008 Parts Diagrams best sale, Had a family day Had Lil cookout and kid s get ride on the lawn mower and Jaden Bentley get drive the lawn mower best sale, Troy Bilt Pony Lawn Tractor Review best sale, Troy Bilt Bronco Riding Lawn Mower best sale, TROY BILT PONY Outdoor Power Auction Results TreeTrader best sale, TRACTOR MOWERS Jay s Power Equipment best sale, Amazon OEM 190 183 Deck Wheel Kit for MTD 38 and 42 Decks best sale, Estate of Arthur Gustafson Lodi CA 09 23 2023 Mulrooney best sale, Lawn Mowers for sale in Alexander Arkansas Facebook Marketplace best sale.